A new patent application published this week by the US Patent and Trademark Office highlights Apple’s efforts to expand MacBook keyboard technology. The company is apparently advancing existing keyboard backlighting technology such that future keyboards could show different symbols depending on context.
Currently, Apple’s MacBook keyboards feature backlighting technology that exists simply to make the keys visible in dark environments. The keys themselves use labels that are pre-printed, meaning they are static and can’t be changed and are potentially prone to wear with long-term use.
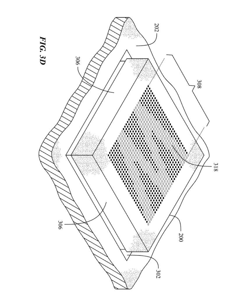
As spotted by Patently Apple, the patent published this week showcases Apple’s work to solve these issues. The company imagines a keyboard where each key features perforations through the top and bottom layers. The backlighting beneath the keyboard could intelligently illuminate each key to show different symbols and letters.
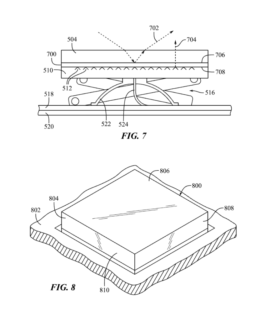
When the keyboard is activated, however, glyphs for each of the keycaps can appear on the keys due to light emitted through the keycaps from beneath the top surfaces of the keycaps. The glyphs can appear to float due to individual light sources or displays that are positioned on or under each of the keycaps. Thus, all of the light output by the light sources or displays can be directed through the top of the keycaps to generate the glyphs, as compared to conventional keyboards where light typically bleeds between adjacent keycaps or is visible between or below the keycaps.
The patent also imagines another scenario where the the light source is an “array of LEDs such as a display using micro-LED or OLED pixels.” This would be a more advanced implementation of a similar idea, with additional controls, customization options, and general flexibility.
The patent application explains:
In some embodiments, the light sources or displays can include an array of LEDs such as a display using micro-LED or OLED pixels. The perforations in the keycaps can correspond in number to the pixels of the display so that, for example, each single pixel of the display can provide light to one single perforation. In this manner, the displays/light sources can be controlled to generate glyphs that are changeable or adjustable between different shapes, letters, colors, symbols, animations, languages, and other features.
“Using this construction, the keycaps of the keyboard can be made with materials not typically used in keycaps for conventional keyboards, such as metals including aluminum,” Apple explains. “Accordingly, the keycaps of the keyboard can have top surfaces that match the appearance of the housing surfaces of the keyboard surrounding the keycaps that may also have metal surfaces.”
“Using this construction, the keycaps of the keyboard can be made with materials not typically used in keycaps for conventional keyboards, such as metals including aluminum. Accordingly, the keycaps of the keyboard can have top surfaces that match the appearance of the housing surfaces of the keyboard surrounding the keycaps that may also have metal surfaces.”
Apple’s filing also includes some imagery showing mockups of how this could work:



9to5Mac’s Take
As always with Apple patent applications, it’s important to remember that the company is constantly considering new technologies. Patent applications are filed on a regular basis and there are countless ideas that Apple has that never see the light of day (oftentimes for good reason).
This patent application was filed on June 10, 2021 and made public today. The invention is credited to Shravan Bharadwaj, a director of manufacturing design who has been at Apple for over 10 years. His responsibilities include a range of different “new product operations,” including concept designing and prototyping.
What this patent application from Apple describes is pretty inventive. As we’ve learned from past attempts by Apple to change keyboard technologies, however, it’s not an easy task to undertake. If Apple were to implement something like this in a future MacBook, it would have to do so in a way that didn’t disrupt the familiarity and reliability of existing keyboard designs.
What do you think of this idea? Would you like to see Apple implement something like this in the future? Let us know down in the comments.
Follow Chance: Twitter, Instagram, and Mastodon
FTC: We use income earning auto affiliate links. More.

Comments