Airbags have been proven to save lives, but an Apple Car airbag system presents a new challenge – one which could be solved by a new approach, says the company.
Airbags have been around for a long time. The first one to be fitted to a car dates back to Chevrolet Impala with a customized Oldsmobile dashboard in 1973, followed by an Oldsmobile Toronado, and they’ve been required by law in all cars sold in the US since 1998. That’s with good reason …
Airbags save lives
Data collected by the the National Highway Traffic Safety Administration (NHTSA) shows that frontal airbags saved more than 50,000 lives over a period of 30 years.
The stats indicate that airbags reduce your chances of being killed in a car crash by at least 30%.
But Apple Car airbags pose a challenge
With conventional cars, the main airbag for the driver is located in the centre of the steering wheel, and the main passenger airbag in the dashboard. Side airbags may be positioned in door pillars and roof linings.
The challenge with self-driving cars, however, is that more premium models – like any future Apple Car – are likely to have interiors with flexible layouts. Seats may rotate, slide, and recline into different positions for working, relaxing, and sleeping.
Given this, it’s not much use having airbags located in fixed locations in the interior of the shell of the car.
Apple patent application describes a solution
An international Apple patent application spotted by Patently Apple describes a way to solve the problem.
Top comment by MacDaddy
Based on all the Tesla self-driving fails, I don't think fully autonomous cars should allow its passengers to do anything other than face forward so they can pay attention to the road and intervene as necessary.
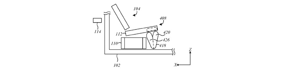
Instead of storing the airbag in interior surfaces, Apple proposes to store them under seats, so that they can be deployed in front of occupants no matter which way they are facing.
In a cabin, a surface such as a dash panel, a steering wheel, or a seat back can serve as a reaction surface for a restraint, for example, an airbag, that deploys prior to or during an event […]
In a cabin of a transportation device with increased open space as compared to the conventional cabin, a modular seating system can be arranged in a configuration consistent with the cabin serving as a mobile office, a living room, etc. Surfaces such as dash panels, steering wheels, or seat backs may not be present or positioned to serve as reaction surfaces for airbags or to assist in controlling motion of an occupant or objects during an event. New approaches to object restraint are thus desired.
A first aspect of the disclosure is a system for a seat (e.g., a support). The system includes a sensor system configured to detect an imminent event, detect an occupant facing the seat, and detect a stowed object beneath the seat. The system also includes an airbag (e.g., a restraint) configured to deploy from the seat, restrain motion of the occupant facing the seat, and restrain motion of the stowed object beneath the seat.
The system described actually seeks to deploy an airbag from beneath one seat to protect someone sitting in a facing seat. So if two seats were positioned facing each other, the airbag beneath my seat would protect you, while the airbag under your seat would protect me.

The status of the Apple Car project remains unclear, with reports seemingly alternating between the optimistic and pessimistic. The most recent of these, earlier this week, reveals that Apple has been adding new testers to its fleet of experimental vehicles – but the company still only has 68 cars, compared to hundreds in the case of companies like Zoox, Waymo, and Cruise.
Photo by Rahul Pugazhendi on Unsplash
FTC: We use income earning auto affiliate links. More.

Comments